西瓜财经 首页 行业新闻 查看内容

实探风暴中的罗马仕:门禁严守 谢绝见客!法人代表4天两换均为“雷氏” ...

来自版块: 行业新闻
142
0

  “感谢关注,暂不接受采访。”7月4日下午,临近下班时间,时代财经几经辗转终于通过罗马仕深圳总部大厦物业联系上罗马仕。  不过,罗马仕深圳总部物业相关人员也向时代财经证实,罗马仕仍在该栋楼正常办公,并 ...

  “感谢关注,暂不接受采访。”7月4日下午,临近下班时间,时代财经几经辗转终于通过罗马仕深圳总部大厦物业联系上罗马仕。

  不过,罗马仕深圳总部物业相关人员也向时代财经证实,罗马仕仍在该栋楼正常办公,并未撤离。

  近日,充电宝召回风波下,位于深圳国际创新谷三期7栋B座的深圳罗马仕科技有限公司(简称“罗马仕”)成了风暴中心。

  该办公楼一楼前台工作人员向时代财经表示,这两天来咨询罗马仕情况的人很多,但需要获得企业许可才能进入,未经允许“可能会被赶下来”。

  官网显示,罗马仕办公地址位于该栋楼的15-18楼。7月4日下午时代财经到访时,该栋大楼人员进出频繁,所有人均需人脸识别才能进入,大堂门禁旁有一名保安站岗。

  7月初,罗马仕就已经深陷倒闭传闻。7月3日深夜,罗马仕公开回应一切安好。同日,企查查显示,罗马仕再度发生工商变更,雷杏容卸任法定代表人、董事、经理,由雷社杏接任,前者几天前才变更为法定代表人。

  次日一早(7月4日),有市场消息称,由于需要应对大量退换货,罗马仕的淘宝店退款已经出现延迟。

  高校禁用、非3C认证产品禁飞,49万台充电宝召回事件给13岁的罗马仕一个致命的打击。

  实探风暴眼

  在7月4日下午,时代财经尝试实探风暴中的罗马仕,但办公大楼下门禁严守,罗马仕谢绝见客。

  被拒绝的除了媒体还有其他访客。时代财经在罗马仕办公楼附近遇到了一位罗马仕的访客,其表示也是过来和罗马仕谈合作,不过罗马仕通过物业告知其要“缓一缓”“这两天不见”。该访客表示,“物业帮我联系了他们,但是他们好像现在没有心情见任何人。”

  不见访客,或许是罗马仕面前有更重要的难题待解。

  第一个难题是49万台充电宝召回对罗马仕现金流带来的直接冲击。

  目前,据罗马仕公告要召回的充电宝就有491745台。若以单价80元计算,罗马仕的亏损就达到3933.96万元。

  但实际的损失或许不止于此。

  时代财经注意到,在几大主流电商平台上,罗马仕的官方店铺已经把所有充电宝产品下架。

  对于不再销售的原因,淘宝、京东等平台的客服给出了一致的解释:“为了彻底打消大家对移动电源产品的担忧和疑虑。即日起,罗马仕将在多平台陆续暂停销售移动电源产品,对产品进行全面、彻底地排查,在保证安全、合规的情况下尽快恢复产品上架。”

  下架的同时,有不少消费者在社交平台反映,在罗马仕淘宝官方店铺申请充电宝退款时,因卖家账户余额不足,暂时无法退货退款。淘宝客服回复正在催缴保证金,尚不确定商家何时能解决资金问题。

  时代财经拨打罗马仕客服电话也被提示,近期咨询量激增,建议消费者直接联系淘宝、京东、抖音等平台店铺客服解决。

  关于损失的具体金额,时代财经尝试通过在现场、公司电话、客服电话等与公司联系,但未果。

  第二重问题是,召回不是这场变动的终点。罗马仕还要面对激烈的市场竞争下,3C认证被取消,电芯供应商不合规带来的余波。

  时代财经注意到,国家市场监管总局全国认证认可信息公共服务平台上,罗马仕大量移动电源的3C认证证书处在暂停状态,有效的基本是电源适配器、快充充电器等的3C证书。

  在资深产业经济观察家梁振鹏看来,短期内,罗马仕需要承担品牌信任危机、企业形象受损的负面影响。而中期看,监管力度加强、供应链重组都是一笔不小的成本。在更远的未来,随着标准升级以及市场洗牌带来的改变,充电宝的合规成本也会进一步上升。“未来充电宝价格可能上涨10%-15%。”他指出。

  资深产业经济分析师、钉科技创始人丁少将也提到,目前消费者认知觉醒,“安全溢价”成为新竞争维度,随着行业优胜劣汰加速,市场极有可能向供应链、合规、品牌形象都占优的头部品牌集中。

  第三个难题是,经营危机和信任危机之下,罗马仕将走向何方?

  据界面新闻报道,7月3日,受充电宝召回事件影响,罗马仕经营已经陷入困境。多名罗马仕员工表示,自7月1号开始,罗马仕内部已经陆续通知员工全面停工停产。

  但面对市场传闻,罗马仕随后在官方微博回应称“没有倒闭,感谢关心”。

  (图源:罗马仕微博

  而罗马仕4天内两度更换法定代表,也让外界对这家公司后续将如何发展有些担忧。

  企查查显示,7月3日,深圳罗马仕科技有限公司发生工商变更,雷杏容卸任法定代表人、董事、经理,由雷社杏接任。

  不过就在几天前(6月30日),罗马仕才将法定代表人、董事、经理由雷社杏变更为雷杏容。

  事实上,今年4月23日,这家公司也发生过一轮变更,当时,公司法定代表人、经理等高管由雷桂斌变更为雷社杏。

  多个法人都姓雷,但是目前并没有明确信息指明他们的关系。

  天眼查显示,罗马仕的实控人为雷灿伙和雷桂斌,两人各自拿着公司50%的股份。

  (图源:天眼查)

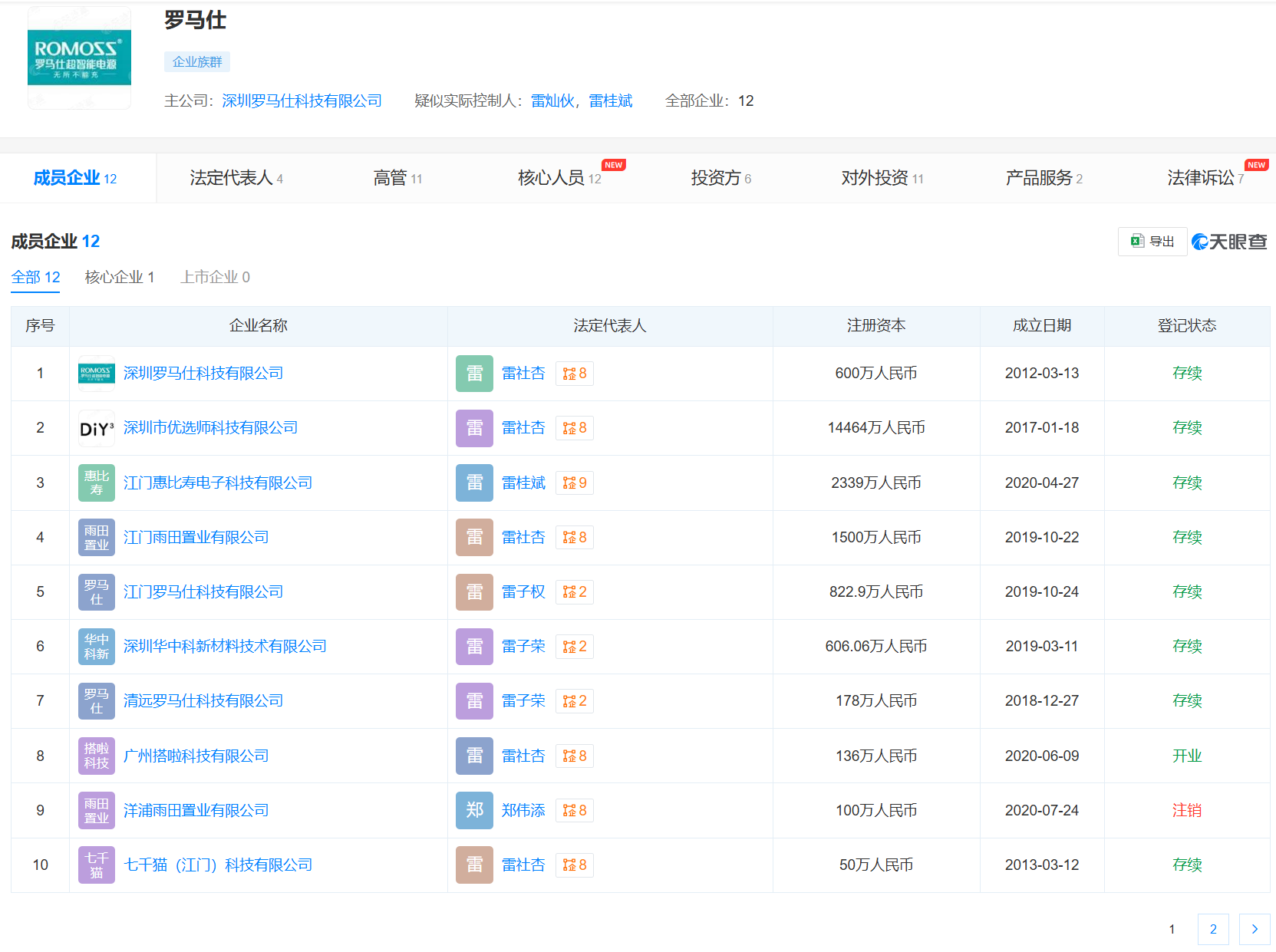
  以深圳罗马仕科技有限公司为核心,罗马仕构建了一个有12家公司的企业族群,这些企业中也有相当一部分人为雷姓。

  (图源:天眼查)

  再造罗马仕?

  罗马仕的管理者在近年来鲜少对外发声。众多“雷家人”之中,似乎只有雷桂斌在互联网上的形象相对清晰。

  公开资料显示,雷桂斌的创业是一个相当典型的“深圳梦”。大学毕业后,他先是于2000年在华强北销售电脑配件,攒下第一桶金后,成立了一家专门生产、销售笔记本电脑电池的公司。但2010年,在这个领域耕耘了10年的雷桂斌感知到了行业下滑的迹象,开始将目光投向被智能手机产品爆发“带飞”的移动电源市场。

  罗马仕充电宝自创立以来,始终以性价比为卖点。当时有媒体报道,创业伊始,当整个行业内类似产品价格维持在128元左右时,罗马仕就通过99元的价格优势杀入市场,等同行降价到99元,罗马仕直接将同类产品价格降到69元的成本价。而在渠道选择上,公司也选择了当时相对成本较低的线上渠道销售产品。

  创业初期罗马仕在践行的是“小米模式”——性价比、把握用户痛点、抢占线上渠道。

  罗马仕的努力确实有成效。据澎湃新闻,2022年移动电源全球第一梯队的厂商主要是安克和小米,总计占有19.93%的市场份额。罗马仕位列第二梯队,和三星、ZAGG等共同占有12.48%的份额。

  公司的数据显示,创立后的十年间,罗马仕获得线上市场占有率排名第一、连续10年天猫双十一移动电源品类销量第一、连续3年全网3C数码配件类第一等诸多佳绩。

  就在一年前,罗马仕的野心已经扩大到要在海外“再造一个罗马仕”。当时,公司已经不满足于“罗马仕=充电宝”这一固化形象,在2024年7月的新品发布会上提出了罗马仕全场景用电体验战略。

  发布会上,罗马仕表示已陆续布局了充电宝、储能电源、充电头、无线充和汽车充等10大品类,基于室内、室外和移动三大类场景打造,逐步全场景用电战略的产品生态扩张。

  (图源:罗马仕)

  除了多元化,去年4月,罗马仕也公布了自己的“新十年全球战略”规划,希望通过科技创新和卓越服务,打造成为全球充电行业的科技标杆,引领行业新标准,并定义行业未来的发展方向。

  当时,公司还宣布建设了全球交付保障中心——江门产业园,集成全球直播、客户服务和云仓业务,发挥罗马仕在制造业和供应链方面的独特优势。

  不过一年前还说要在海外“再造一个罗马仕”的公司,为什么会走到今天这步?未来又会行至何方?

  最近几天,罗马仕倾向于关闭向外界发声的渠道。因此,所有的问题暂时还没有一个确切的答案。

(文章来源:时代财经)


鲜花

握手

雷人

路过

鸡蛋
来自: 东方财富
[湘ICP备2023006560号-2] [电信增值业务许可证:湘B2-20230366]
违法和不良信息举报电话:15388934451 举报邮箱:1014211648@qq.com
Copyright ©2025 长沙禾湖信息科技有限公司. Powered by 西瓜财经

顶部