西瓜财经 首页 行业新闻 查看内容

“药妆茅”出手!贝泰妮打造初普运营团队 入局高端美容仪市场 ...

来自版块: 行业新闻
61
0

  【导读】贝泰妮打造初普运营团队,入局高端美容仪市场  沉寂多日的家用高端射频美容仪Tripollar初普,最近被“药妆茅”贝泰妮重新带回公众视野。  记者从业内获悉,贝泰妮正在打造初普品牌的运营团队,由公 ...

K图 300957_0

  【导读】贝泰妮打造初普运营团队,入局高端美容仪市场

  沉寂多日的家用高端射频美容仪Tripollar初普,最近被“药妆茅”贝泰妮重新带回公众视野。

  记者从业内获悉,贝泰妮正在打造初普品牌的运营团队,由公司副总经理张梅负责。同时,在招聘网站上,贝泰妮已释放出多个相关岗位,包括电商设计师、直播运营主管、媒介投放等。

  有资本市场人士认为,对贝泰妮而言,此次合作可快速补足高端家用美容仪的产品与技术短板,与既有护肤品形成“仪器+凝胶+术后修护”的协同场景,覆盖从居家到医美机构的完整方案。

  该分析人士同时也表达了担忧,初普目前尚未取得国家药监局Ⅲ类医疗器械认证,而政策缓冲期仅剩8个月。

  从幕后投资转向台前运营

  近两年,贝泰妮在美容器械领域动作密集。

  在投资方面,贝泰妮在2023年对威脉医疗实施战略投资,后续又参与了该公司的多轮融资,目前持股比例已达到9.49%。据公开资料,威脉医疗正致力于自主开发一系列高端医疗器械产品线,包括外周介入类射频消融系统、医疗美容类射频治疗仪以及超声治疗仪等。

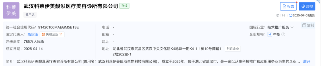
  今年4月,贝泰妮旗下科凝美(上海)与开云医疗合资成立武汉科莱伊美靓泓生物科技,法定代表人为贝泰妮的高管之一高绍阳,公司经营范围明确包含医疗美容服务及三类医疗器械销售。

图源:天眼查

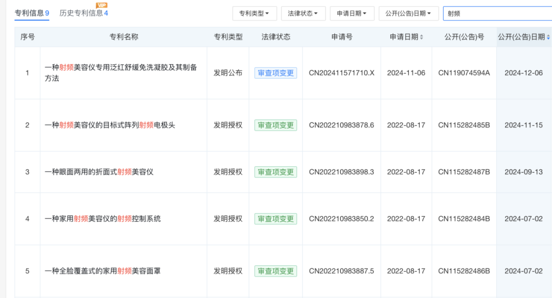
  此外,贝泰妮也在加强美容仪的自主研发。天眼查显示,贝泰妮在2024年以来更新了多款与射频美容仪相关的专利内容,有的已经获得发明专利授权,有的则还在申请阶段。

图源:天眼查

  有业内人士表示,此次与初普的合作可以看出,贝泰妮在美容器械领域的战略动作已经从幕后走向前台。

  资质风险“悬而未决”

  公开资料显示,初普(TriPollar)是以色列高端家用美容仪品牌,隶属于全球医美巨头Lumenis科医人集团,定位为“院线级科技家用化”的射频美容仪先驱。

  由于较早进入中国市场,初普一度“风光无限”,2014年开设天猫旗舰店,次年营业额便超3亿。2020年,初普的美容仪在李佳琦双十一预售直播中创造了过亿GMV,成为淘宝直播美妆行业一小时破亿的12个单品之一。

  不过好景不长,2022年,因温控缺陷可能导致皮肤烫伤,初普代理商新基石(深圳)科技有限公司召回了18余万台初普Stop Eye型号的家用射频美容仪。

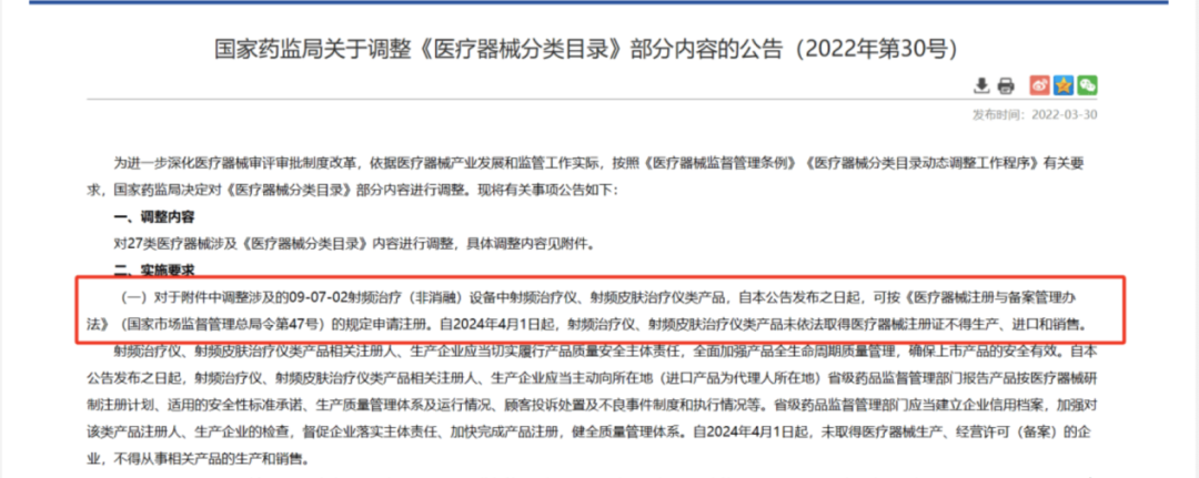
  同年,美容仪市场也迎来了新的监管要求。2022年3月,国家药监局发布公告,将射频治疗(非消融)设备如“射频治疗仪、射频皮肤治疗仪”作为第三类医疗器械管理。2024年7月,国家药品监督管理局宣布,上述规定延期到2026年4月实施。

  截至2025年8月,初普还未公开Ⅲ类械备案进展,若2026年4月前未获证将面临禁售。

  股价破发,业绩承压

  2021年上市初期,贝泰妮市值一度突破1200亿元,股价高达289元/股,被资本市场视作“药妆茅台”。

  8月5日收盘,贝泰妮报45.69元/股,总市值为194亿元,距离巅峰时期已“蒸发”近千亿元,而贝泰妮当前股价也跌破当时47.33元的发行价,成为A股美妆板块首家破发企业。

  从业绩表现来看,贝泰妮近三年营收增速下滑显著,净利润连年腰斩。2021年至2024年间,贝泰妮营收从40.22亿增至57.36亿,但增速从52.57%降至3.87%;归母净利润从2021年8.63亿跌至2024年5.03亿,2023年跌28%,2024年再跌33%。

  2025年第一季度,贝泰妮的表现再度恶化,营收同比降13.51%至9.49亿,净利润仅2834万,同比骤降83.97%。

  值得一提的是,贝泰妮的股东们似乎也在“撤退”。在7月底,贝泰妮的第二大股东红杉聚业计划开启第五轮的股份减持。结合之前的四轮减持,红杉聚业的持股比例已经从最初的21.58%降至9.66%,累计套现金额超过60亿元;第三大股东臻丽咨询从2022年7月到2025年2月期间也累计减持了1573万股。

(文章来源:中国基金报)


鲜花

握手

雷人

路过

鸡蛋
来自: 东方财富
[湘ICP备2023006560号-2] [电信增值业务许可证:湘B2-20230366]
违法和不良信息举报电话:15388934451 举报邮箱:1014211648@qq.com
Copyright ©2025 长沙禾湖信息科技有限公司. Powered by 西瓜财经

顶部