西瓜财经 首页 行业新闻 查看内容

20亿!万达再现大额股权冻结 王健林日前罕见现身

来自版块: 行业新闻
78
0

  万达再次出现股权被冻结的情况。  企查查信息显示,大连万达集团股份有限公司新增一则股权冻结,标的企业为大连万达商业管理集团股份有限公司,冻结股权数额19.79亿元,期限自2025年8月27日至2028年8月26日, ...

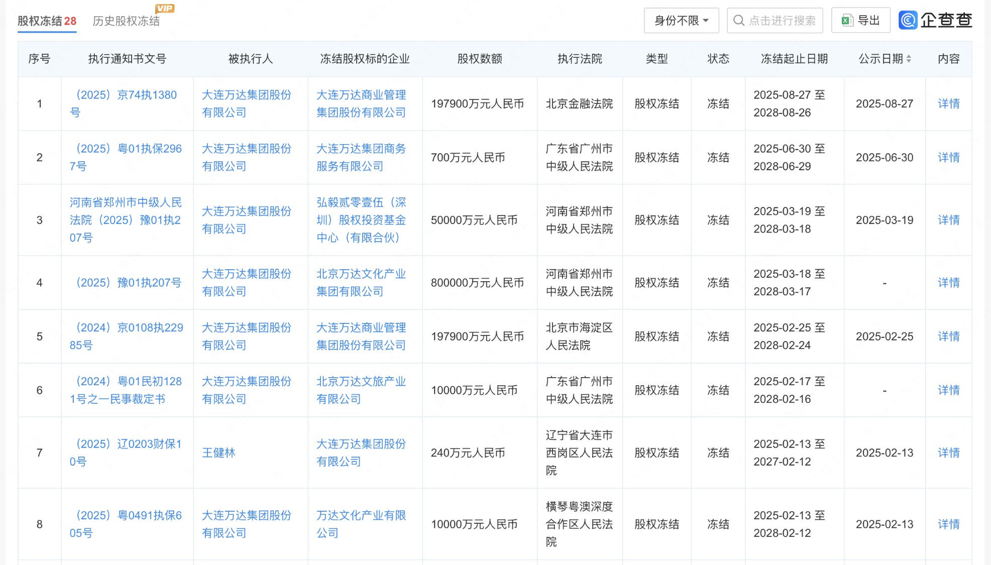
  万达再次出现股权被冻结的情况。

  企查查信息显示,大连万达集团股份有限公司新增一则股权冻结,标的企业为大连万达商业管理集团股份有限公司,冻结股权数额19.79亿元,期限自2025年8月27日至2028年8月26日,执行法院为北京金融法院。

  目前,大连万达集团的股权冻结信息达28条,除了最新这笔,被冻结股权的标的企业还涉及北京万达文化产业集团有限公司、北京万达文旅产业有限公司等,其中冻结金额上亿的有18条、金额近20亿的共2条。

  除了股权冻结,大连万达集团股份有限公司还有9条被执行人信息,总金额达48.62亿元;万达地产集团共涉及362条被执行人信息,总金额17.62亿元;大连万达商业管理集团股份有限公司有2条被执行信息,总金额138.64万元。

  近年来,万达一直处在出售资产、协调与历史投资人关系、寻求新资金的现状中。

  据不完全统计,2023年至2024年间,王健林陆续出售了超30座万达广场。2025年以来,万达先是有7座万达广场被零散出售,随后又出现一笔大额交易计划:大连万达商管旗下48家公司的股权,将被太盟牵头的“财团”收购。

  国家市场监管总局此前信息显示,太盟珠海、高和丰德、腾讯控股京东潘达与阳光人寿,将直接或通过其各自关联方,共同设立合营企业,收购大连万达商管48家目标公司的100%股权,包括共计39个城市的48座万达广场。

  日前,这笔交易有了落地佐证。8月25日,由太盟、高和丰德、腾讯、京东潘达等13家企业组成的私募基金“苏州宽遇”成立,总出资额224.29亿元。

  其中,腾讯累计认缴金额99.59亿元,出资比例约44.4%;京东潘达认缴金额47.80亿元,出资比例约22.2%;太盟累计认缴金额约11.17亿元,出资比例约4.97%。此外,还有苏州金合盛控股有限公司等三家苏州国资参与,累计认缴5亿元。

  此外,万达还分别与京东、腾讯成立了合资企业。万达、京东等企业在北京投资设立北京泓睿潘达管理咨询合伙企业,出资额80.53亿元;万达与腾讯成立深圳智薯投资合伙企业,出资额达160.76亿元。

  对上述基金与合资公司的具体情况,万达集团方面未作出公开回应。不过业内普遍认为,这些举动可视为前述大额“收购案”的实质性落地,有望解决万达在2018年引入的京东、腾讯等那批投资者的退出及利息等问题。

  值得注意的是,王健林近日罕见现身。8月20日~21日,王健林在克拉玛依考察招商引资、文旅发展等工作,探讨和当地合作的可能性,从流传出的照片及视频看,王健林较此前消瘦不少,这位地产老板还在为万达寻求新的可能性。

(文章来源:第一财经)


鲜花

握手

雷人

路过

鸡蛋
来自: 东方财富
[湘ICP备2023006560号-2] [电信增值业务许可证:湘B2-20230366]
违法和不良信息举报电话:15388934451 举报邮箱:1014211648@qq.com
Copyright ©2025 长沙禾湖信息科技有限公司. Powered by 西瓜财经

顶部