西瓜财经 首页 行业新闻 查看内容

万达持有的94亿元股权被冻结

来自版块: 行业新闻
102
0

  万达再遭冻结。  企查查APP显示,近日,大连万达集团股份有限公司所持上海万达网络金融服务有限公司约85.62亿元股权、上海万达小额贷款有限公司8.4亿元股权被冻结,冻结期自2025年9月1日至2028年8月31日,执行 ...

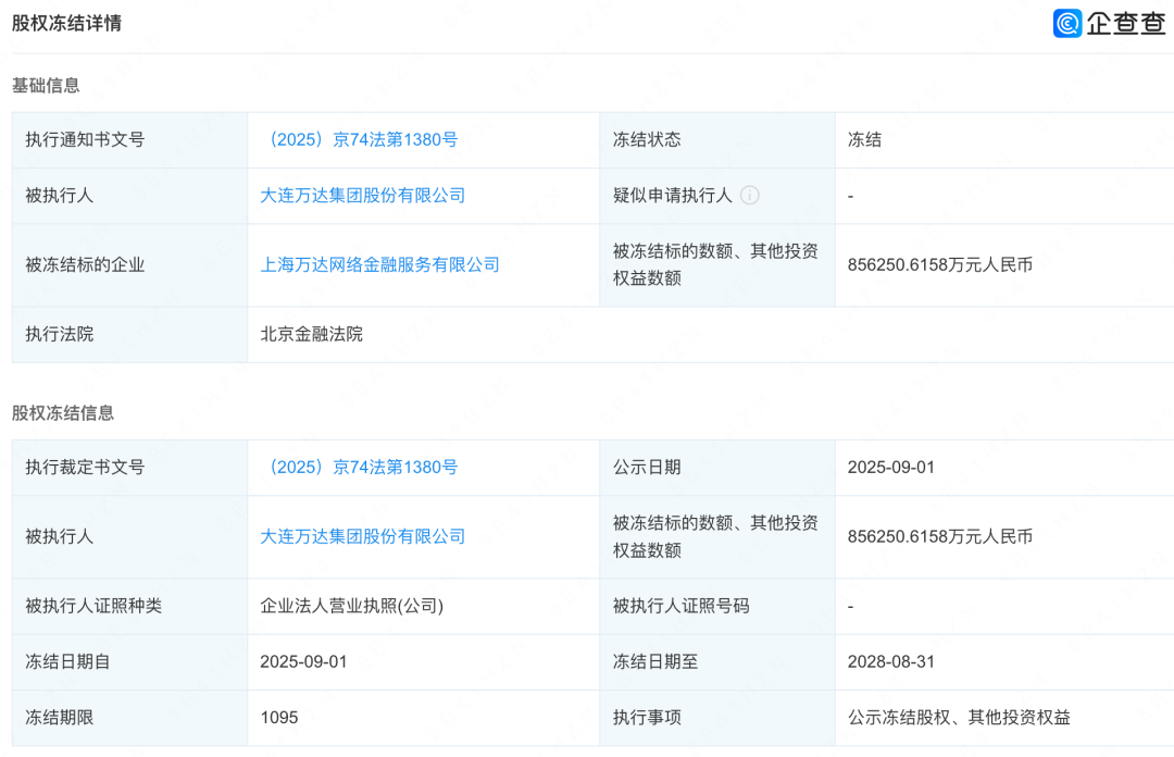
  万达再遭冻结。

  企查查APP显示,近日,大连万达集团股份有限公司所持上海万达网络金融服务有限公司约85.62亿元股权、上海万达小额贷款有限公司8.4亿元股权被冻结,冻结期自2025年9月1日至2028年8月31日,执行法院为北京金融法院。两家公司合计被冻结的股权约为94亿元。

图片
图片

  工商信息显示,上海万达网络金融服务有限公司2015年3月成立。其官方网站显示,万惠云创包含万达钱包和万达普惠两大业务。其中,万达钱包是万达集团旗下面向万达业态客群的科技金融产品,智能整合先享后付、小额信贷、充值预付等金融服务功能。万达普惠围绕“金融+互联网+大数据”的创新方向,以诚信、合规、稳健、创新的经营理念,致力于为普罗大众、小微企业提供有特色、优质便捷的金融服务。

  上海万达小额贷款有限公司2016年1月成立。官网显示,公司立足万达生态场景,为普罗大众和小微企业提供高效、优质、普惠的综合金融服务,践行科技引领金融的普惠发展之路。

  近年来,万达集团经营压力较大。企查查数据显示,截至9月5日,万达集团共有10条被执行人信息,合计被执行金额为49.29亿元;共有25条历史被执行人信息,被执行金额89.61亿元。

  官网显示,万达集团创立于1988年,已发展成为以现代服务业为主的大型企业集团,旗下包括商管集团、文旅集团、投资集团,其中商业中心、体育、儿童产业等处于世界行业领先地位。

(文章来源:证券时报·e公司)


鲜花

握手

雷人

路过

鸡蛋
来自: 东方财富
[湘ICP备2023006560号-2] [电信增值业务许可证:湘B2-20230366]
违法和不良信息举报电话:15388934451 举报邮箱:1014211648@qq.com
Copyright ©2025 长沙禾湖信息科技有限公司. Powered by 西瓜财经

顶部