西瓜财经 首页 行业新闻 查看内容

百度前高级副总裁王劲创业失败 自动驾驶公司进入破产程序 已失联 ...

来自版块: 行业新闻
70
0

  日前,中智行科技有限公司(以下简称“中智行”)破产清算被法院受理。据红星资本局消息,该公司由前百度高级副总裁、百度自动驾驶事业部首任总经理、文远知行创始人王劲创办,主攻L4级自动驾驶领域。  裁定书 ...

  日前,中智行科技有限公司(以下简称“中智行”)破产清算被法院受理。据红星资本局消息,该公司由前百度高级副总裁、百度自动驾驶事业部首任总经理、文远知行创始人王劲创办,主攻L4级自动驾驶领域。

  裁定书显示,中智行无力支付1.5万元的劳动仲裁款,被申请破产清算还债,进入“执转破”程序。

  业内人士指出,中智行的困境与其选择的技术路线,以及当前自动驾驶投资退潮的大环境有关。车路协同短期内难以跑通,商业化落地困难,投资者看不到回报,即便是王劲也只能黯然退场。

  公司失联、资不抵债

  首次被执行前1个多月更换法代

  日前,江苏省南京市栖霞区人民法院裁定受理对中智行的破产清算申请。

  据法院发布的民事裁定书,申请人对中智行申请破产清算理由如下:申请人与中智行于2024年11月27日在劳动仲裁委员会签订调解书,约定中智行在2025年4月20日前支付1.5万元,后经多次催要未果。申请人遂向人民法院申请强制执行,但中智行一直无法支付调解款项,故申请其破产清算还债。

CFF20LXzkOyebaXUDLtd9yRFaLTdXgD68NhaAGYvcTPibnPK1bSkDXdFADM1AnStSBc3VYGvA28SA3VThGniadwA.png

  经过法院调查,中智行涉及多件执行不能案件,涉案金额巨大,资不抵债,符合受理破产的条件,依法予以受理。此外,中智行公司不在注册地经营,经营场所不明,无法取得联系。

  江苏省南京市栖霞区人民法院裁定受理中智行破产清算申请后,指定江苏泛华律师事务所与江苏苏亚金诚税务师事务所有限公司为中智行管理人,负责接受申报债权。法院将于2025年10月24日召开第一次债权人会议。

  9月5日,记者搜索发现,中智行的官网已无法打开,公开的座机号码已是空号,手机号始终无人接听。此外,中智行在北京、福州、深圳的三家分公司均已注销,公司的微信公众号去年2月开始停止更新。

  天眼查显示,中智行实缴注册资本达1.5亿元,王劲任公司董事长。

CFF20LXzkOyebaXUDLtd9yRFaLTdXgD6IpGkAx1Kia9oSNicaO6IjptEAFJYq4Q8dyAkicJIAEmv9Pib2KDdqexhog.png

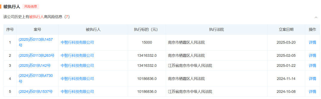
  从2024年10月开始,中智行多次成为被执行人,历史被执行总金额达4732.8万元;两起终本案件的执行标的总金额为2360.3万元,其中未履行金额2192.8万元。

CFF20LXzkOyebaXUDLtd9yRFaLTdXgD6esst4vgjiciaASvhricicr1S2icZZSboOB7h3YpvutGxzdAAOhDwf284Zqw.png

  值得注意的是,就在公司首次被执行前的1个多月的2024年8月21日,中智行发生工商变更,创始人、董事长王劲卸任法定代表人,张水生接任,至今已多次被限制高消费。而在此之前,张水生从未出现在该公司高管名单中。

CFF20LXzkOyebaXUDLtd9yRFaLTdXgD6w7pkyhEGAjlTPKZvORuR0SOkmKT0ByPVqSMcIia8sNtN95jjber0mBQ.png

  曾是“百度无人车四大护法”之一

  还是文远知行创始人

  中智行科技有限公司成立于2018年,注册资本1.5亿元,是一家基于车路协同的自动驾驶技术提供商和出行服务运营商。

  其创始人王劲是中国自动驾驶技术商业化浪潮中的初代领军人物之一,也是百度高级副总裁、百度自动驾驶事业部首任总经理,曾被称为“百度无人车四大护法”之一。

  公开信息显示,王劲历任谷歌中国工程研究院副院长、eBay中国CTO、阿里巴巴集团技术最高负责人,并先后于E-Loan、Informix、甲骨文等美国硅谷的多家公司任职。

  2010年4月,王劲加入百度任技术副总裁。2015年12月,百度自动驾驶事业部成立,王劲为首任总经理;同年12月,百度自动驾驶汽车成功路测,实现国内首次城市、环路及高速公路混合路况下的全自动驾驶。

  2017年3月,王劲从百度离职,创立了L4级无人驾驶技术公司景驰科技。同年,百度将王劲及景驰科技诉至北京知识产权法院,要求停止侵害百度的商业秘密。2018年3月,王劲宣布从景驰科技离职,后创立中智行。

  景驰科技后来更名为文远知行,2024年10月,文远知行(WRD.US)在纳斯达克上市,成为“全球通用自动驾驶第一股”。文远知行的CEO韩旭,曾任百度自动驾驶首席科学家。

  分析师:投资热退潮

  自动驾驶行业加速洗牌

  资料显示,中智行共获得4轮融资,最后一轮融资在2023年3月。

  汽车行业分析师刘昊表示:“当前资本对自动驾驶的投资热已经退潮,自动驾驶公司必须给出清晰的盈利时间表,以说服投资人继续承受高昂的研发投入与持续的亏损,行业正在加速洗牌。”

  不仅是中智行,近年来已有多家自动驾驶企业黯然退场。“清华系独角兽”清研微视已破产清算,估值曾超90亿元;联想、小米投资的纵目科技已进入破产重整程序;“全球自动驾驶第一股”图森未来已从纳斯达克退市。

  中智行选择的自动驾驶技术路线是车路协同,公司曾在早期的微信公众号文章中表示,自己是全球第一个采用从底层技术上深刻融合5G和AI(即5GAI)新一代无人驾驶技术路线的公司,通过5G赋能车路协同,弥补单车智能的局限。

1tRsGJ6Jk29hYiaicXAnKibVFZUNOicqOSzhM8Sbs8EWRkiacjv1kt2NEL8oPyNTkGnnVTgWCWB7IVpSwMibKRERkWXQ.png

截图自中智行微信公众号

  刘昊表示,目前行业主流的技术路线还是单车智能,即单车做出感知、计算和驾驶决策,高度依赖高精度传感器和算法。“单车智能的初期成本更低,不涉及复杂的基础设施建设和交通调度,落地速度更快,特别是端到端技术加速了其商业化落地进程。”

  车路协同是由车辆、道路和云控平台共同完成车辆控制,前期需要在路侧部署大量通信、感知、计算和交通信号等基础设施,基建投入大、见效慢,目前的商业模型不清晰。“车路协同需要政府部门推进公共基建、打通数据,这不是企业自己能完成的。短期内车路协同很难走通,但长期来看是行业的发展趋势。”

  不过,即使是单车智能的大规模商业化智驾场景,也还未能落地,目前尚无自动驾驶公司实现盈利。今年第二季度,文远知行净亏损4.06亿元,上年同期净亏损4.13亿元;小马智行(PONY.US)净亏损3.8亿元,同比扩大72.5%。

(文章来源:每日经济新闻)


鲜花

握手

雷人

路过

鸡蛋
来自: 东方财富
[湘ICP备2023006560号-2] [电信增值业务许可证:湘B2-20230366]
违法和不良信息举报电话:15388934451 举报邮箱:1014211648@qq.com
Copyright ©2025 长沙禾湖信息科技有限公司. Powered by 西瓜财经

顶部